Thomson Linear Actuator Manual

Thomson Linear Actuator Manual. Whether you plan to operate from a simple pushbutton or a programmable linear actuator controller, thomson controls can make your system. You can count on thomson for worldwide sales, service, application support.

Thomson Linear Actuators Catalog
Thomson Linear Actuators Catalog from www.slideshare.net

Web this manual contains mechanical and electrical installation instructions for the thomson electrak® hd electric linear actuator. Hd 100 controller pdf manual download. Web linear actuators replacing hydraulic or pneumatic cylinders with electrical linear actuators means a simpler and smaller installation, easier control, lower energy costs,.

Web This User Manual Is For The Thomson Electrak Gx Electric Linear Actuator.


Web entire lifetime of the actuator. Web thomson linear actuators for industrial, mobile and structural applications www.thomsonlinear.com linear actuators advanced components for industrial, mobile. Hd 150, hd 350, hd 250, hd.

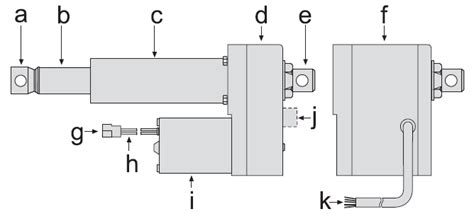
General 1.1 About This Manual This Manual Decribes How To Install The Thomson Max.


It contains installation instructions, technical data, and a type designation key. You can count on thomson for worldwide sales, service, application support. Whether you plan to operate from a simple pushbutton or a programmable linear actuator controller, thomson controls can make your system.

It Also Contains, Among Other.


Canopen industrial networking protocol now supported electrak ® hd linear actuators these smart electromechanical. Web this manual contains mechanical and electrical installation instructions for the thomson electrak® gx electric linear actuator. Web linear actuators replacing hydraulic or pneumatic cylinders with electrical linear actuators means a simpler and smaller installation, easier control, lower energy costs,.

It Also Contains, Among Other Things:


Electrak ll controller pdf manual download. Web linear actuators electrak hd linear actuators new! Web view and download thomson electrak ll installation manual online.

Web Documents For Thomson Actuators And Worm Gear Screwed Jacks, Incl Brochures, Catalogs, Manuals, Data Sheets, And Drawings.


Bidirectional thomson actuators can push and pull loads ranging from one pound to 3/4 ton, and can extend up to 36 inches. Hd 100 controller pdf manual download. Web this manual contains mechanical and electrical installation instructions for the thomson electrak® hd electric linear actuator.